23-мм автомат 2А14

23-мм АВТОМАТ 2А14

Призначення, склад, устрій автомата 2А14

 

23-мм автомат (див. Малюнок 1) являється автоматичною зброєю в якому замикання каналу ствола , виконання пострілу , відмикання каналу ствола . вилучення стріляної гільзи та відбивання її, подавання стрічки в приймач та чергового патрона в патронник здійснюється автоматично.

 

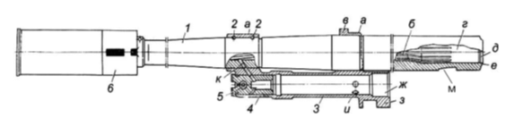
Автомат складається з наступних частин (див. Малюнок 2): ствола 1, ствольної коробки с подаючим механізмом и механізмом блокування 2, повзуна 3 з поршнем, досилачем і важелем досилача в сборі, затвора 4, механізму перезаряджання 5, затильника 6, спускового механізму7, кришки коробки 8, вісь кришки 9, відкатників 10, ручки машини 11.

Ствольна коробка кожного автомата закріплена на люльці в двох місцях (переднього та заднього кріплення). Крім того, ствол автомата підтримується в передній частині роз’ємним хомутом 12, закріпленим на люльці.

 

Призначення , склад та устрій ствола

Ствол (див. Малюнок 3) служить для направлення польоту снаряда. Внутрішня частина ствола називається каналом.

Малюнок 3 – ствол.

 

В каналі ствола порохові гази, що утворилися в результаті згоряння порохового заряду , діють на снаряд , передаючи йому поступальний рух вперед.

Під час пострілу частина порохових газів після проходження снаряду бокового газовідвідного отвору в стволі подається в газову камеру 3, їх енергія використовується для приведення в дію автоматики.

Канал ствола має патронник г та нарізну частину б (див. Малюнок 4).

Умовні позначки:

1 – ствол; 2 – штифти; 3 – газова камера; 4 – газовий регулятор; 5 – штир;

6 – полум’ягасник ; а – кільця газової камери; б – нарізна частина; в – виступ;

 г – патронник; д – проточка; е – виступ; ж – циліндричне гніздо; з – шип; и – отвір;

 к – газовідвідний отвір; л – бокові виступи; м – виріз для клину ствола

Малюнок 4 — ствол Сб-1.


Патронник, що має форму гільзи, служить для розміщення патрона. В патроннику знаходиться дванадцять повздовжніх канавок, які служать для полегшення екстракції гільзи.

Нарізна частина служить для надання снаряду обертального руху навколо поздовжньої осі , що необхідно для забезпечення стійкості снаряда при його польоті.

В нарізній частині маються десять нарізів змінної крутизни.

На нижній поверхні казенної частини ствола знаходиться виріз м для клину, що з’єднує ствол зі ствольною коробкою.

На стволі мається полум’ягасник6, газова камера 3 с газовим регулятором 9, и рукоятка для перенесення ствола (Малюнок 4).

Полум’ягасник нагвинчується на передню частину ствола та закріплюється на різьбі булавкою.

Газова камера являє собою порожній циліндр з двома кільцями а, якими вона з натягом надіта на ствол.

Циліндр газової камери з’єднаний з каналом ствола газовідвідним отвором к.

В передній частині циліндра розміщується газовий регулятор 4. На задній частині циліндра маються чотири отвори для виходу відпрацьованих порохових газів.

Газовий регулятор призначений для регулювання кількості газів , що відводяться в газову камеру зі ствола .

Рукоятка служить для зручності перенесення та відокремлення ствола (особливо гарячого).


Призначення, склад та устрій ствольної коробки

Ствольна коробка (див. Малюнок 5,6) служить для з’єднання основних частин автомата, а також для направлення руху повзуна, затвора, поводка та двіжку подавання.

На ствольній коробці розміщені:

автошептало (див. Малюнок  8);

клин стволу з рукояткою (див. Малюнок 9);

противідскок (див. Малюнок 10);

 відбивач (див. Малюнок 11);

задній упор (див. Малюнок 12);

вкладиш спуску (див. Малюнок 13);

передня (див. Малюнок 15) и задня (див. Малюнок 16) шторки;

нижня шторка (див. Малюнок 14).

 

Ствольна коробка в передній частині всередині має повздовжні циліндричні отвори для ствола з (див. Малюнок 7).

По отворам для ствола вздовж всієї ствольної коробки проходить паз э для розміщення повзуна. В передній частині ствольної коробки цей паз переходить в розточку и, що слугує гніздом для противідскоку .

Позаду отвору для ствола (під кутом 85° до осі ствольної коробки) мається вікно г (див. Малюнок 7) для затвору.

Збоку попереду вікна для затвору мається поперечне вікно л (див. Малюнок 7) для клина ствола.

По бокам в передній частині ствольної коробки розміщені вушкае і повздовжні пази ж (див. Малюнок 7) для кріплення відкатників.

Умовні позначки:

a – зовнішні пази; б – вушка для фіксаторів кришки коробки; 

в – пази для горловини;г – вікно для затвору; 

д – пази для напрямного вкладишу клину ствола; 

е – вушка для кріплення відкатників; 

ж – пази для кріплення відкатників; 

з – отвори для ствола; 

и – гніздо для противідскоку; 

к – профельні пази; 

л – вікно для клину ствола;

 м – вікно для лапок досилача; 

н – Т-образні пази; 

о – вертикальні пази для двіжка подачі; 

р – проріз; с – напрямні

виступи для кріплення автомату; 

т – поперечний паз; у – вушка; 

ф – пази для постановки спускового механізму;

 х – пази для постановки автошептала; 

ц – виріз для рамки; 

ч – отвір для замикача упору; 

ш – напрямні пази заднього упору;

щ – внутрішній паз; 

є – паз для повзуна; 

ю – виріз для шипа циліндру газової камери

Малюнок 7 — ствольна коробка.

 


Позаду вікна для затвору на внутрішніх стінках ствольної коробки прорізані пази х для постановки основи автошепталу.

Середня частина ствольної коробки має вирізи , що утворюють (в поєднанні з кришкою коробки) приймальне вікно для проходу спорядженої стрічки та відводу ланки.


В верхній частині ствольної коробки попереду приймального вікна мається вушко з отвором для вісі кришки коробки, а позаду приймального вікна вушкаб (див. Малюнок 7) з отворами для фіксаторів кришки коробки.

Зовні на бокових стінках ствольної коробки розташовані вертикальні пази о для двіжку подавання. Там же є профільні пази та вирізи ц для рамки. 

При правому подаванні в вертикальні пази о з лівої сторони коробки встановлюється ланковідвод.

З правої та лівої сторони ствольної коробки біля приймального вікна маються передні та задні виступи з пазами в для кріплення правої або лівої (в залежності від подачі стрічок ) горловини.

На зовнішніх бокових стінках ствольної коробки маються профільні повздовжні пази к. При правій подачі в пазах на правій стінці розташовується поводок подавання, а на лівій стінці – механізм перезаряджання.


Між цими пазами з обох сторін ствольної коробки маються повздовжні прорізи р для шипа трубки зворотної пружини та кінця осі важіль досилача.

На зовнішніх пазах а кріпляться передня та задня шторки та корпус механізму блокування.

Знизу під приймальним вікном на зовнішніх бокових стінках ствольної коробки маються виступи для нижньої шторки.

На внутрішніх стінках ствольної коробки (в задній частині) зроблені напрямні пази ш для постановки заднього упору та поперечний отвір ч для замикача упору.

Знизу на задній частині ствольної коробки знаходяться повздовжні напрямні виступи с, призначені для кріплення автомата на установці.

В задньому торці ствольної коробки (зверху) знаходиться поперечний паз т з виступом та вертикальні внутрішні пази щ для постановки затильника.

Знизу в передній частині ствольної коробки знаходяться вушка у з отворами для штиря вкладишу. Там же є виріз для розміщення спускового механізму та вкладишу, а також пази ф для постановки спускового механізму.


Автошептало(див. Малюнок 8) служить для взведення бойової пружини ударного механізму під час руху затвору вгору ( під час замикання каналу ствола) і для автоматичного звільнення взведеного ударника (для забезпечення вистрілу) при не доходженні затвора до верхнього положення на 1,5–2 мм. Основа автошептала встановлюється своїми боковими виступами а в пазах х (див. Малюнок 7) ствольної коробки и кріпиться штифтом

 

12 – основа автошептала; 18 – автошептало; 19 – пружина автошептала;

20 – вісь автошептала; a – виступи

Малюнок 8 – авто шептало.

 

Клин стволу з рукояткою (див. Малюнок 9) служить для закріплення ствола в ствольній коробці. Клин розміщується в вікні л ствольної коробки (див. Малюнок 7) і в закритому положенні знаходиться в вирізах м (див. Малюнок 4) ствола.

 Противідскок (див. Малюнок 10) поглинає частину енергії рухомих частин в кінці накату та зменшує відскок повзуна назад до моменту наступного пострілу. 

Противідскок розміщується в гнізді  (див. Малюнок 7, 25) ствольної коробки. Від випадіння зі ствольної коробки противідскок фіксується штифтом противідскоку. 

Всередині противідскока мається наскрізний отвір,  в якому переміщується під час стрільби шток з поршнем. 

  На задньому торці противідскоку знаходяться два профільні вирізи е в які (при переміщенні повзуна в крайнє переднє положення) заходять спеціальні виступи повзуна.

   Відбивач (див. Малюнок 11) служить для відбивання гільз (патрона) до низу назад при вилученні її з патроніка. Відбивач закріплений в ствольній коробці спереду виступами на пір’ях відбивача , які входять до відповідних пазів ствольної коробки , а позаду штифтом , що проходить через отвори ствольної коробки.

Задній упор (див. Малюнок 12) взаємодіє своїм профільним кулачком з важелем досилача, забезпечуючи прискорений (в порівнянні з повзуном) рух досилача. Задні виступи до упору перешкоджають переміщенню затильника в пазах ствольної коробки. Боковими виступами задній упор встановлюється в пазах ствольної коробки і фіксується в
цьому положенні замикачем
2 упора з застібкою.

Вкладиш спуску (див. Малюнок 13) призначений для опори буферу спускового механізму. Загинами на своїй передній частині вкладиш утримується від випадіння зі ствольної коробки штифтом 7 противідскоку. На ствольній коробці вкладиш 3 утримується штирем 4 с застібкою.

Нижня шторка (див. Малюнок 14) закриває автошептало. Шторка має зачепи якими вона утримує штифт основи автошепталу від випадіння, та зачепи, якими вона кріпиться на основу автошептала. В шторці розміщені отвори для стакана спускового механізму та вікно для ударника затвору.

Передня шторка (див. Малюнок 15) закриває передню частину бокового профільного пазу, в якому переміщується поводок подавання. Шторка має зачепи, якими вона утримується на ствольній коробці, та попереду пружинну засувку, яка фіксує шторку від зміщення вперед. 

Засувка шторки має отвори для встановлення осі , що перешкоджає самовивільненню застібки під час стрільби. Вісь від випадіння утримується кільцем.

Задня шторка (див. Малюнок 16) закриває задню частину бокового профільного пазу, в якому переміщуються поводок подавання. Шторка має зачепи, якими вона утримується на ствольній коробці.

Підзавдання        0091Г.12А-156.00302  Вивчити будову і роботу елементів і механізмів автомата

 

Призначення, склад, устрій повзуна з поршнем, досилача та важелядосилача в зборі.


Повзун 3 (див. Малюнок 17) являється основним вузлом, який приводить в дію всю решту рухомих частин автомата (підіймає та опускає затвор, переміщує досилач патрона. приводить в дію механізм що подає стрічку).

Повзун в сборі складається:

з повзуна 3;

поршня 1;

чеки поршня 2;

досилача4;

 важілядосилача5;

вісь досилача6;

 вісьважілядосилача7.

Повзун розміщується в горизонтальному пазу э (Малюнок 7) ствольної коробки. 

 

До передньої частини повзуна за допомогою чеки 2 (Малюнок 17) приєднується поршень 1. На передньому торці повзуна маються профільні виступи п, що взаємодіють з противідскоком (при переході повзуна в переднє положення).

Скіс в, в передній частині повзуна, є бойовим взводом при постановці повзуна на шептало. 

Виступ б, зі скосом на передній перемичці , служить для утоплення вимикача шептала (для уникнення заклинювання повзуна на шепталі) під час взведенні автомату або при відході повзуна назад після останнього пострілу , коли шептало вже піднялося до гори.

В середній частині повзуна маються віконце, крізь яке екстрактуються гільзи (патрони).

На внутрішніх стінках бокових перемичок повзуна маються гребені, що взаємодіють з затвором.

Похила ділянка е гребеня слугує для підйому та опускання затвору, передня горизонтальна ділянка д – для утримання затвору в нижньому положенні і задня горизонтальна ділянка ж – для утримання затвору в піднятому (запертому) положенні Передня частина віконця г (без гребеня) призначена для відокремлення затвору від повзуна під час розбирання.

На зовнішніх бокових стінках повзуна є гнізда к для шипу трубки зворотної пружини.

В задній частині повзуна мається вікно для важеля досилача і отвір для осі важеля досилача.На задньому торці повзуна є різьбове гніздо а, для рукоятки перезаряджання.

Поршень 1 безпосередньо сприймає тиск порохових газів і тим самим забезпечує відкочування рухомих частин назад.Отвір на задній частині поршня служить для з’єднання поршня за допомогою чеки 2 з повзуном.

Досилач4 проводить досилання патрону в патроник та вилучення стріляної гільзи (патрона) з патроника.На головці досилача мається зуб о, що вилучає гільзу з патронника. Передній торець головки досилача служить для виштовхування патрона зі стрічки та досилання його в патронник.Нижні припливи н (лапки досилача) слугують для направлення досилача в ствольній коробці та взаємодіє з затвором при першочерговому вилученні гільзи. Паз в середній частині досилача слугує для проходу виступу повзуна.Віссю 6 досилач з’єднується з важелемдосилача.Важіль 5 досилача шарнірно сполучає повзун з досилачем та забезпечує прискорене (в порівнянні з повзуном) переміщення досилача при відкочуванні та накаті повзуна.

В верхній частині важіль досилача має отвір для осі 6 досилача, а в середній частині – отвір для вісі 7 важелядосилача.

По бокам важелядосилача маються ромбовидні припливи м, що взаємодіють з відбивачем при накаті та відкочуванні рухомих частин.

В нижній частині важіль досилача має два пера, які взаємодіють з профільним кулачком заднього упору, чим забезпечується прискорений рух досилача.

 

Призначення, склад, устрій та дія затвору.

Затвор з ударним механізмом (див. Малюнок 18) служить для замикання каналу ствола при пострілі, для виконання пострілу та першочергового зміщення гільзи при вилученні її з патронника.

Всередині затвору 1 (див. Малюнок 18) зібрано ударний механізм, що складається:

з бойка 2;

лодижки 3;

віссі лодижки 4;

ударника 5;

бойової пружини 6;

стрижня 7;

замикача 8.


Затвор 1 при підйомі вгору замикає канал ствола. На передній частині затвору вгорі знаходиться дзеркало та зачепи а, які фіксують положення гільзи відносно дзеркала затвору. 

Скоси на верхній частині зачепів забезпечують захід зачепів в проточку гільзи. В центрі дзеркала мається отвори для виходу байка.

Всередині затвору маються циліндричні отвори для розміщення ударника та проріз для проходу 3 бойового зводу в ударника.

На бокових стінках затвору маються профільні вирізи е, взаємодія яких з гребнями повзуна здійснює підйом та опускання затвору.

Верхні ріжкид, що забезпечують зміщення гільзи в патроннику назад на початку екстракції , та нижні ріжки ж, що вимикають автошептало в кінці запирання.

На задній поверхні затвора гніздо б, що слугує для полегшення вилучення затвору зі ствольної коробки за допомогою рукоятки перезаряджання під час розбору автомата.

Бойок 2 служить для розбивання капсуля.

Лодижка3 забезпечує передачу енергії ударника байку. В нижній частині лодижки мається виріз, в який входить верхній гребінь ударника у момент його удару по лодижці. В затворі лодижка кріпиться вісью 4.

Ударник 5 крізь лодижку передає енергію бойовій пружині байку. В нижній частині ударник має виступ бойового взводу в, що взаємодіє з автошепталом.

Всередині ударника знаходиться циліндрична порожнина для розміщення бойової пружини. З боків ударника прорізані наскрізні віконця з для замикача.

Бойова пружина 6. Що розміщена в середині ударника, надіта на напрямний стріжень7.

Напрямний стріжень7 знизу має отвори для замикача.

Дія затвору.

При підході повзуна до переднього положення він, взаємодіє з профільними вирізами е затвору, підіймає затвор в гору.

При підйомі затвору бойовий взвод в ударника 5 наштовхується на авто шептало. При цьому взводиться бойова пружина 6. При подальшому підйомі затвора в гору його ріжки ж обертають автошептало.

При повному оберті автошептала ударник 5 під дією бойової пружини 6 спрямовується в гору, б’є через лодижку3 по байку 2, останній розбиває капсуль та відбувається постріл.

Устрій кришки коробки з віссю.

Кришка коробки в поєднанні з відповідним вирізом на ствольній коробці утворює приймальне вікно. (див. Малюнок 19).

Спереду кришка 1 (див. Малюнок 20,21) коробки має вушка з отворами для осі 12, за допомогою якої кришка кріпиться на ствольній коробці, праворуч по переду – виступ 6, що не дозволяє обертати рукоятку клину ствола при закритій кришці коробки, а ліворуч попереду – виріз а для головки осі 12 при закритій кришки коробки.

Ззаду на кришці маються поперечні отвори для розміщення фіксаторів 32 і два вертикальних отвори для штифтів 28 фіксаторів, що утримують кришку в зачиненому положенні.

На нижній поверхні кришки розміщується вкладиш 18 кришки, прижим9 патрону, фіксуючі пальці 4, передній 11 і задній 2 фіксатори патрону.

Вісь кришки (див. Малюнок 19) утримує кришку коробки на ствольній коробці та слугує одночасно застібкою, що утримує кришку в відкритому положенні.

Вісь являє собою трубку, всередині якої розміщенні пружина та упор. При підйомі кришки пружина зміщує трубку вісі ліворуч і головка осі, потрапляючи під кришку, не дозволяє кришці закритися. Для зачинення кришки необхідно натиснути головку осі праворуч ( щоб вона співпала з вирізом в кришці).

Фіксатори кришки (див. Малюнок 21) утримують кришку в зачиненому положенні. 

Вони складаються з двох фіксаторів 32, що утримуються від випадіння штифтами 28, та пружиною 33, що розміщена між ними.

Вкладиш кришки (див. Малюнок 20, 21) слугує для направлення патрона при його досиланні в патронник та для забезпечення утримання зуба досилача в проточці гільзи при її екстракції.

У вкладиші кришки розміщується притискна лапка 15, двіжок16 та пружина 17двіжку.

Вкладиш 18 кришки встановлюється в гніздо кришки коробки.

Прижим 9 патрона слугує для гарантійного притискання ланки патрона до напрямних ствольної коробки. 

Притискач розміщується в середній частині кришки та закріпленнийвісью6, що проходить крізь лівий повздовжній отвір кришки коробки. Притискач має вушка з отворами для осі 6, гнізда для пружин 7 та 8прижим та профільний виступ для упору на фіксуючі пальці.

Фіксуючи пальці 4 утримують від зворотного переміщення патрон, що знаходиться на лінії досилання. 

Фіксуючи пальці мають вушка з отворами для осі 6 (такій самій як і вісь притискачу патрона), виступи з упорними площинами для утримання патрона з ланкою, упорну площину для профільного виступу притискачу патрона та канавку для кінця пружини фіксуючих пальців.

Вісь 6 фіксуючих пальців проходить крізь правий повздовжній отвір кришки коробки.

Пружина 5 фіксуючих пальців надівається на вісь 6 та віджимає фіксуючі пальці до низу.

Фіксатори передній 11 та задній 2 патрону служать для фіксації стрічки з патронами під час заходу подаючих пальців за черговий патрон. Фіксатори розміщуються в гніздах на правій стороні кришки.

 Всередині фіксаторів розміщені пружини 14, які надягаються на стрижні 13, закріплені всередині гнізд фіксаторів в кришці коробки.

При лівому живленні притискач патрона, фіксуючі пальці і фіксатори розміщуються з протилежної сторони.


Устрій подаючого механізму.

Подаючий механізм призначений для подачі стрічки з патронами в приймальне вікно автомата та для направлення патрона при його досиланні в патроник.

Подаючий механізм складається :

з поводка 19 подачі (див. Малюнок 20,22);

двіжка 25 подачі;

ричала 20 подачі;

подаючих пальців 21;

пружини 22подаючих пальців;

рамки 27;

осі 24 важіля подачі;

осі 23 подаючих пальців;

переднього упору 29;

заднього упору 30;

горловини 39 і ланковідводу40 (див. Малюнок 7).


Крім того, в роботі подаючого механізму беруть участь прижим патрону 9 (див. Малюнок 20), фіксуючого пальці і фіксатори 2 та 11, що розміщенні на кришці коробки.

 Поводок 19 подачі (див. Малюнок 22) має похилі гребені б, які входять в відповідні пази на двіжку подачі. Розміщується поводок подачі в правому профільному пазу ствольної коробки. 

   Сухарні виступи поводку забезпечують можливість приєднання поводка до ствольної коробки. Отвір а на поводку призначений для кінця вісі важеля досилача. 

   Різьбовий отвір на задньому торці поводка слугує для вгвинчення в нього рукоятки перезаряджання при розборці та зборці автомата. Двіжок25 подачі має похилі пази г, в яки входять відповідні гребені поводка подачі, напрямні площини д, що входять в вертикальні пази о (див. Малюнок 7) ствольної коробки , і приплив е (див. Малюнок 22) з отвором для осі 24 важіля подачі.

Важіль 20 подачі (див. Малюнок 22) з’єднаний з движком подавання віссю. На нижній частині важеля на осях 37 закріплені два ролика 26.

Ролики, обкатуючись по профільній поверхні рамки, змушують подаючі пальці здійснювати горизонтальний рух поперек ствольної коробки при вертикальному переміщенні двіжку подачі. 

До верхньої частини важіля вісью 23 приєднанно подаючі пальці 21.

Подаючі пальці 21 мають два вушка з отворами для осі 23 і два виступи з опорними площинами. 

Передній виступ (широкий) взаємодіє з передніми лапками ланки і дульцем гільзи, а задній виступ (вузький) – з задніми лапками ланки.

Пружина 22подаючих пальців надягається на вісь подаючи пальців та віджимає подаючі пальці вгору.

Рамка 27 (див. Малюнок 22) служить копіром для обкатки роликів важеля подачі при подачі та забезпечення забігу подаючих пальців за черговий патрон.

Рамка встановлена в пазах ствольної коробки та зафіксована в передній частині корпусом механізму блокування а в задній частині – задньою шторкою.

Передній 29 та задній 30 упори призначені для обмеження переміщення чергового патрону при подачі. Упори встановлюються в ліві Т-образні пази ствольної коробки.

На передньому упорі віссю закріплений напрямний козирок 38. Козирок забезпечує фіксацію ланки при виштовхуванні з неї патрона в патронник, направляє патрон в патронник та сприяє відводу пустої ланки в ланковідвод. Горловина (див. Малюнок 23) служить для підводу стрічки з патронами в приймальне вікно автомата. Горловина вставляється своїми виступами з гори в відповідні пази ствольної коробки.

Ланковідвод (див. Малюнок 24) слугує для відводу ланок від автомату в ланковідвод установки. Кронштейном ланковідвод встановлюється з лівої сторони автомата в пази для двіжка подачі. Від зміщення вгору ланковідвод утримується пружинною защіпкою.

 

Дія подаючого механізму

Подача чергового патрону відбувається під час руху повзуна назад. Поводок 19 подавання (див. Малюнок 20), що рухається разом з повзуном назад, похилими гребнями переміщує двіжок подачі 25 вгору. Двіжок подачі 25, переміщуючись по вертикальним напрямним ствольної коробки, підіймає за собою важіль 20 подачі та подаючі пальці 21. Важіль 20 подачі , обкочуючись своїми роликами 26 по рамці 27, вибирає зазор на забіг подаючих пальців та, захопивши ними черговий патрон з ланкою стрічки, просуває патрон на центр приймального вікна.

Під час руху повзуна вперед поводок подачі 19 переміщує двіжок подачі 25 з важелем подачі 20 та подаючими пальцями 21 від центру ствольної коробки вниз. При цьому подаючі пальці 21 забігають за черговий патрон.


Устрій спускового механізму і механізму блокування

Спусковий механізм слугує для постановки повзуна на шептало та звільнення його від шептала.

Механізм блокування служить для припинення стрільби, коли останній в стрічці набійподано на лінію досилання.


Спусковий механізм (див. Малюнок 25, 26) складається:

з корпусу спуска 1;

двіжка спуска 23 з пружинами двіжка24 і напрямними стрижнями пружин двіжка25;

шептала 3;

вимикача 2;

осі шептала 26;

важілядвіжка7;

застібки двіжка4;

пружини застібки 8;

важеля спуску 22;

стакана 19 з пружиною 20 важіля двіжка та зі стрижнями 21 пружини важеля двіжка;

напрямного стрижня 27 з пружиною стрижня 28;

втулки 34;

шторки 33;

кришки корпусу 9;

штифту застібки двіжку 5;

пружини буферу 29;

буфера спуску 30 та гайки корпусу 31 спуска зі штифтом 32.


Корпус спуску 1 слугує для монтажу на ньому всіх деталей спускового механізму та для кріплення механізму на ствольній коробці.

Ззовні на корпусі маються бокові напрямні виступи якими корпус кріпиться в ствольній коробці, та упори, що обмежують переміщення корпусу назад.


В передній частині корпуса знаходиться циліндричне гніздо для розміщення буферної пружини. Всередині корпуса маються пази для двіжка спуску 23, пази для кришки корпусу 9 та гніздо для пружини 20важілядвіжка та стакана 19.

В задній частині корпусу маються поперечні отвори для важеля спуску 22 та штифту 5. Двіжок23 має бокові напрямні виступи, що входять в відповідні пази корпусу.

В двіжку зроблені два циліндричні повздовжні гнізда, в яких розміщуються пружини 24 з напрямними стрижнями 25 пружин двіжка.


Шептало 3 в передній частині має отвори для осі 26 та виріз для вимикача 2. Опорний виступ шептала взаємодіє з виступом двіжка. Підйом шептала обмежується боковими виступами, що входять в виїмки на внутрішніх стінках корпусу.

Вимикач 2 при впливі на нього повзуна примусово відводить вперед двіжок та опускає шептало, виключаючи заклинювання повзуна на шептало.

Верхнє перо вимикача взаємодіє з шептало, а нижнє – з движком. Через отвір вимикача проходить вісь шептала.

Важіль двіжка7 являє собою передавальну ланку між важелем спуску і движком. Защіпка двіжка4 обертається на штифту 5. Передній кінець защіпки взаємодіє з виступом двіжка. На задньому кінці защіпки утворено кулачок, що взаємодіє з ріжками важелядвіжка.


Пружина 8 защіпки забезпечує поворот защіпки двіжка вниз при переміщенні двіжка вперед.

Важіль спуску 22 довгим плечем встановлений в корпусі 1 спуска і жорстко пов’язаний з важелем двіжка7, а коротке плече важеля спуску взаємодіє з планкою спуску механізму блокування.


Пружина 20, що розташована в стакані 19, через стріжень21 повертає важіль 7двіжка, а разом з ним і важіль спуску 22 в вихідне положення при припиненні стрільби.

Пружина 24 (дві) і стріжень27 з пружиною 28 слугують для забезпечення надійного повернення двіжка в вихідне положення.

Кришка корпусу 9 встановлюється позаду в пази корпусу спуску. Від зміщення назад вона утримується штифтом 5.

Буферна пружина 29 слугує для пом’якшення удару при постановці повзуна на шептало.

Буфер 30, розміщено попереду буферної пружини 29, впирається заднім торцем в буферну пружину. Передня частина буфера виступає за передній зріз гайки 31 та впирається у вкладиш спуску 8.

При посадці рухомих частин на шептало за рахунок підтискання буфера буферної пружини відбувається пом’якшення удару.

Гайка 31 (див. Малюнок 25) утримує буферну пружину 29 в стані попереднього підтискання. Від самовідгвинчування гайка утримується штифтом 32.


Механізм блокування (див. Малюнок 25-26) складається:

з корпусу блокування 12;

штовхача 13;

пружини штовхача 14;

осі планки 15;

осі ролика планки 16;

планки спуска 18;

ролика планки 17;

передавального важіля10.

Корпус блокування 12 є основою для всіх деталей механізму. На внутрішній стороні корпусу маються захвати, якими корпус механізму блокування кріпиться на ствольній коробці. В верхній частині корпусу знаходяться вушка з отворами та гніздо для кріплення та розміщення передавального важіля 10.

В середній частині корпусу просвердлено наскрізний вертикальний отвір для штовхача з обробленою під великий діаметр камерою для пружини штовхача.

В нижній частині корпусу маються: проріз для планки спуска 18, прорізи для кінців осі 15 планки і знизу отвір для постановки та відокремлення від корпусу штовхача 13 та пружини штовхача 14.

Штовхач 13 забезпечує жорсткий кінематичний зв’язок осі 15 планки з корпусом механізму блокування при втопленому передавальному важелі. В нижній частині штовхача маються отвори для осі планки 15 та бурт для упору пружини штовхача 14.

Планка 18 спуску з роликом 17 планки забезпечує зв’язок спускового механізму установки з важелем спуску автомата. Вісью15 планка 18 з’єднана з штовхачем 13

Протилежний кінець планки стикається з важелем 22 спуску спускового механізму. На ролик 17 планки при стрільбі впливають спусковий важіль установки.

Передавальний важіль 10 закріплений вісью11 на верхній частині корпусу. 

Довге плече важеля входить всередину приймального вікна приймача. При проходженні через приймач стрічки з патронами довге плече важеля топиться в виріз на ствольній коробці. Коротке плече важеля розміщується всередині гнізда на корпусі 12. При втопленому довгому важелі штовхач впирається в торець короткого плеча важеля. Торець важеля має скіс.

 

Дія спускового механізму і механізму блокування

При заряджанні автомата повзун утримується шепталом, перший патрон патронної стрічки знаходиться на приймальному вікні ствольної коробки, кришка коробки закрита.

Черговий патрон втопив передавальний важіль 10 (див. Малюнок 27) в паз ствольної коробки.

Передавальний важіль 10, штовхач 13 і вісь 15 планки жорстко замкнуті.

При натисканні на ролик 17 планки важелем установки планка 18 спуску переднім кінцем повертає вгору важіль 22 спуску (див. Малюнок 25).

Важіль 7 движка, жорстко пов’язаний з важелем 22 спуску, просуває движок 23 вперед і піднімає пружину 20 важеля і движка. Движок 23 підтискає пружини 24 і через стрижень 27 — пружину 28, при цьому виступ виходить з-під опорного виступу шепотіла 3. Вимикач 2, що знаходиться в зачепленні з двіжком23, обертається навколо осі 26 і утоплює шептало. 

Одночасно важіль 7 (при оберті) піднімає пружину 8 засувки движка, яка при подальшому русі важеля 7 і движка 23 забезпечує замикання засувки 4 движка за виступ движка 23.

При припинення стрільби важіль 22 спуску енергійно опускається вниз під дією пружини 20

При цьому ріжки важеля 7 движка в кінці ходу важеля 22 спуску, взаємодіючи з кулачком засувки 4 двіжку, виводять засувку з зачеплення з движком 23. Під дією пружин 24 і 28 движок повертається у вихідне положення, піднімає при цьому шептало, і підпирає шептало своїм виступом.

Повзун при русі вперед зупиняється на шепталі. Якщо звільнення шептала відбувається на початку відкочування рухомих частин, а також в випадку перезарядження, то повзун заднім скосом утоплює вимикач 2. Вимикач відводить движок вперед і примусово опускає шептало.

Як тільки передня перемичка повзуна пройде над вимикачем і шепталом, вони під дією пружин енергійно повернуться в початкове положення.

При подачі останнього патрона стрічки на приймальне вікно ствольної коробки патрон звільнить передавальний важіль 10, порушиться жорсткий кінематичний зв’язок деталей механізму блокування, шептало повернеться в початкове положення, повзун зупиниться на шепталі, а останній патрон залишиться на приймальному вікні ствольної коробки.

Затильник

Затильник 7 (див. Малюнок 28) служить задньою стінкою ствольної коробки. У затильнику зібрано буферний пристрій, який служить для пом’якшення удару повзуна при відкочуванні передає повзуна інтенсивний поштовх вперед на початку накату.

Затильник в передній частині має пази і гребені для з’єднання зі ствольною коробкою.

У задній частині затильника знаходиться різьбове гніздо для стакана 6

У цьому гнізді прорізано циліндричний отвір для виходу переднього кінця буфера 2. Бічні виступи а затильника в зібраному автоматі утримують зворотній механізм і задню шторку від зсуву назад. Отвори в бічних виступах служать для проходу рукоятки перезарядження при розбиранні автомата.

У верхній частині затильника є поперечний отвір для чеки, якою приєднується до затильника ручка машини для зручності зняття автомата з установки, і нижче неї — отвір для штифта 8 стакана.

Буферний пристрій складається зі стакана 6, буфера 2, тарілчастих пружин 3, стяжного болта 1 і гайки 4.

Стакан 6 вгвинчується в різьбове гніздо затильника 7 і фіксується в затильнику штифтом 8.

Для проходу штифта на стакані є лиска, крім того, на зовнішній поверхні стакана є виступи для ключа. У стакані зібрані всі інші деталі буферного пристрою.

Буфер 2 безпосередньо сприймає удар повзуна і підтискає тарілчасті пружини при приході повзуна в заднє положення. В центрі буфера є отвір для стяжного болта 1.

Тарілчасті пружини (24 шт., зібрані в три групи по 8 шт.) пом’якшують удар повзуна о буфер і передають повзуну інтенсивний поштовх вперед на початку накату. Для зручності розбирання та збирання тарілчасті пружини разом з буфером надягнуті на стяжний болт 1 і закріплені на ньому гайкою 4 зі штифтом 5.

При вгвинчуванні стакана з буферним пристроєм в затильник тарілчасті пружини отримують попереднє стискання.


Призначення, склад та устрій механізму перезаряджання

Механізм перезарядки передає повзуну рух, необхідний для виконання першого пострілу. Крім того, механізм перезарядки слугує передавальною ланкою при взведенні рухомих частин на установці.

Механізм перезарядки (див. Малюнок 29) складається:

з циліндра 1 перезарядки;

трубки 2зворотньої пружини;

зворотної пружини 3;

стрижня 4зворотньої пружини;

штифтів 5 стрижня;

гайки 7 циліндра.


Циліндр 1 являє собою трубку. На передній частині циліндр має всередині різьбу для гайки 7 циліндра, там же прорізано отвір для штифта 6 і виступ для упору циліндра в ствольну коробку.

Уздовж циліндра проходять паз для шипу трубки 2зворотньої пружини і напрямні виступи, за допомогою яких циліндр кріпиться в пазах ствольної коробки. На зовнішній поверхні циліндра в середній частині знаходиться виступ, що слугує для попереднього зміщення циліндра молотком при розбиранні автомата.

На задньому торці циліндра мається вінчик, в якому зроблені отвори для штифтів 5. Трубка 2зворотньої пружини має внутрішню порожнину для розміщення зворотної пружини 3 і шип на задньому кінці для зв’язку трубки з повзуном.

Зворотна пружина 3 забезпечує переміщення рухомих частин вперед. Передній кінець зворотної пружини розміщується всередині порожнини трубки 2, а задній кінець надітий на направляючий стрижень 4.

Направляючий стрижень 4зворотньої пружини має проточки для проходу штифтів 5.

Гайка 7 циліндра вгвинчена в передню частину циліндра 1 і закріплена штифтом 6.

Призначення, склад та устрій відкатника

Кожен автомат має два однакових по влаштуванню відкатника 1 (див. Малюнок 31), об’єднаних загальним хомутом 12 (див. Малюнок 30).

Відкатник (див. Малюнок 32) в зборі складається:

з корпусу відкатника 1;

пружини відкатника 3;

гайки корпусу 4 з втулкою гайки 5;

штоку 6.

Корпус 1 своїми напрямними виступами встановлений в пазах ствольної коробки.

Цапфами на передній частині корпус приєднаний до хомута. У внутрішній частині корпусу розміщуються пружина 3 з шайбами 2 і шток 6.

Пружина 3 переднім кінцем через шайбу 2 впирається в дно корпусу, а заднім кінцем також через шайбу — у втулку 5 і гайку 4.

Втулка має отвір, через який проходить шток 6.

Хомут з елементами його кріплення на люльці утворює переднє кріплення автомата на установці. Зверху хомута знаходиться рукоятка 13 для зручності зняття з установки гарячого автомата.

Шток 6 являє собою циліндричний стрижень з вилкою на задньому кінці. На передній кінець штока нагвинчується гайка 8, що закріплена штифтом 9. Гайка 8 через шайбу 2 впирається в торець пружини 3.

В вилці мається циліндричний отвір для пальця 10, за допомогою якого шток жорстко з’єднується зі ствольною коробкою. Хомут 12 (Малюнок 30) є ланкою що зв’язує між автоматом і люлькою. Конструкція хомута і його кріплення до автомату та люльки дозволяє проводити вивірку автомата (переміщення в горизонтальній і вертикальній площинах).

У бічних стінках хомута прорізані отвори, в які входять цапфи відкатників. Під час вивірки автомата у вертикальній площині він повертається на цапфах відкатників в отворах хомута. В верхній частині хомута є цапфа, а в нижній частині — отвір, за допомогою яких хомут кріпиться на люльці.

Дія відкатників

При пострілі під дією сили віддачі автомат відкочується назад; так як штоки 6 (Малюнок 32) закріплені пальцями на ствольній коробці, тому разом з автоматом відкочуються назад і штоки. 

Гайки 8, закріплені на передній частині штоків 6, стискають пружини 3відкатніків, що впираються заднім кінцем в гайки 4, угвинчені в задню частину корпусів 1.

Енергія відкочування автомата повністю поглинається пружинами 3 при відкочуванні автомата на 18-24 мм.

Після зупинки в задньому положенні автомат під дією стиснутих пружин 3 накочується вперед в початкове положення і, продовжуючи за інерцією рух вперед, діє виступом вилки штоку 6 на задній торець втулок 5

Втулки 5, вгвинчуючись в гайки 4, переднім торцем стискають пружини 3відкатніков, що впираються переднім кінцем в дно корпусів 1відкатніків. Відбувається амортизація накату автомата.

Після зупинки автомата в крайньому передньому положенні пружини 3 починають розтискатися та, натискаючи на передні торці втулок 5, вигвинчують їх з гайок 4 назад до тих пір, поки торці пружин 3 не доторкнуться до передніх торців гайок 4

Втулкою 5, вигвинчуючись з гайок 4, заднім торцем тиснуть на виступ вилок штоків 6 і переміщують штоки 6 спільно зі ствольною коробкою автомата назад. Автомат повернеться в початкове положення.

Передача енергії пружини 3відкатніка ствольній коробці (при накаті і при поверненні ствольної коробки в початкове положення) через втулки здійснюється дія демпфірування (швидких затихань коливань) ствольної коробки на відкатнику.


 Взаємодія частин і механізмів автомата при заряджанні

 

Взаємодія частин і механізмів до заряджання (див. Малюнок 34)

Повзун і поводок подачі знаходяться в крайньому передньому положенні, двіжок подачі — в крайньому нижньому положенні.

Зворотна пружина має тільки попереднє стискання, трубка зворотної пружини займає переднє положення.

Затвор знаходиться в верхньому положенні, автошептало втоплене затвором. Ударник займає верхнє положення, бойова пружина має тільки попереднє підтискання.


Взаємодія частин і механізмів при заряджанні

Для заряджання автомату необхідно:

 за допомогою рукоятки механізму перезаряджання установки відвести трубку зворотної пружини назад, поставивши повзун на шептало;

 повернути рукоятку механізму перезаряджання установки в початкове положення;

 вставити споряджену стрічку (різким досиланням патронної коробки при похилому положенні копіра на кронштейні патронної коробки) в приймальне вікно автомата так, щоб перший в стрічці патрон пройшов за передній і задній фіксатори патрона;

 провести спуск повзуна з шептала за допомогою рукоятки роздільного спуску, для чого вижати вгору запобіжник і натиснути вниз на рукоятку роздільного спуску (але не на педаль спуску установки або її річний дублер);

 вдруге за допомогою рукоятки механізму перезаряджання установки відвести трубку зворотної пружини назад, поставивши повзун на шептало;

 повернути рукоятку механізму перезарядження установки в початкове положення.

Після виконання всіх вказаних операцій автомат буде заряджено.


При першому відведенні трубки зворотної пружини назад відбувається наступне (див. Малюнок 34).

Трубка зворотної пружини, відходячи назад, своїм шипом відводить назад повзун. При цьому стискається зворотна пружина.

Повзун, пройшовши вільний хід (7-10 мм), взаємодіє похилою частиною гребенів з профільними вирізами затвору і опускає затвор вниз, проводячи відмикання каналу ствола. 

При подальшому русі назад повзуна утоплюється верхнє плече вимикача шептала. Нижнє плече вимикача шептала при цьому відводить вперед двіжок спускового механізму. Виступ на двіжку виходить з-під опорного виступу шептала, даючи тим самим шепталу можливість опуститися.

Вимикач утоплює шептало, і повзун просувається далі назад до упору в буфер.

Двіжок спускового механізму під дією своїх пружин повертається назад, підіймає своїм виступом шептало і, зайшовши виступом під опорний виступ шептала, стопорить шептало в верхньому положенні. Завдяки цьому шептало утримує повзун від руху вперед. Разом з шепталом повертається і вимикач шептала (див. Малюнок 33).

Поводок подаючого механізму, переміщуючись з повзуном назад, своїми похилими гребенями піднімає вгору двіжокподаючого механізму.

Двіжок, переміщуючись вгору, піднімає за собою важіль подачі. Важіль подачі, в наслідок обкачування роликів по профільній поверхні рамки, змушує подаючі пальці здійснювати горизонтальне переміщення до центру ствольної коробки.

При натисканні на рукоятку роздільного спуску установки (після першого відводу повзуна назад) відбувається наступне.

Важіль роздільного спуску  установки повертає коротке плече важеля спуску (див. Малюнок 25) спускового механізму автомата.

Важіль двіжка, обертаючись разом з довгим плечем важеля спуску, переміщує вперед двіжок.

Виступ двіжка спускового механізму виходить з-під опорного виступу шептала. Бойовий  взвод на повзунові витискає шептало вниз. Засувка двіжка під дією пружини що заскокує переднім кінцем за задній торець двіжка. Повзун під дією зворотної пружини переміщується в переднє положення.

Поводець подачі, переміщаючись разом з повзуном вперед, своїми похилими гребнями переміщує двіжок подачі вниз. Разом з движком переміщується важіль подачі. Верхні виступи важеля подачі ковзають по профільній поверхні рамки, завдяки чому подаючі пальці переміщуються горизонтально від центру ствольної коробки, заскочуючи за перший в стрічці патрон. Стрічку з патронами в цей час утримують передній і задній фіксатори

При русі повзуна вперед похилі частини його гребенів, взаємодіючи з профільними вирізами на корпусі затвора, піднімають затвор вгору.

При підйомі затвора бойовий взвод на ударнику 5 (див. Малюнок 18) наштовхується на важіль автошептала11 (див. Малюнок 37). Внаслідок цього при підйомі затвора ударник залишається на місці і стискає бойову пружину. При не доході затвора на 1,5-2 мм до верхнього положення нижні ріжки затвора повертають автошептало, звільняючи ударник. Ударник під дією бойової пружини 6 різко піднімається і вдаряє по щиколотці 3, яка в свою чергу завдає удар по бойку 2.

При проході повзуна в крайнє переднє положення профільні виступи е на передньому торці повзуна входять до входять до профільних вирізи противідскоку8 (див. Малюнок 10).

При ударі виступів повзуна по дну вирізів противідскоку, внаслідок нахилу ударяючихся поверхонь, противідскок трохи повертається навколо поздовжньої осі. 

При цьому відбувається тимчасове зчеплення противідскоку з повзуном, внаслідок чого зменшується відскок повзуна назад після удару в крайньому передньому положенні.

При звільненні важеля роздільного спуску установки (Малюнок 35) важіль спускового механізму автомата спільно з важелем двіжка під дією пружини повертається (повертається) в початкове положення.

В кінці повороту важеля двіжка він своїми ріжками взаємодіє з кулачком засувки двіжка, виводячи верхній кінець засувки з-під зачеплення з двіжком. Після звільнення двіжка він повертається під дією своїх пружин в вихідне (заднє) положення, піднімаючи і застопорюючи при цьому шептало.


При повторному відведенні повзуна назад частини автомата переміщаються так само, як і при першому відведенні, з тією лише різницею, що при повторному відведенні повзуна падаючі пальці просувають перший в стрічці патрон на лінію досилання (див. Малюнок 36).

При відведенні повзуна назад переднє перо важеля досилача взаємодіє з профільним кулачком заднього упору, забезпечуючи більш швидке і на більший шлях, ніж повзун, переміщення досилача. Перший патрон в стрічці, переміщаючись до центру ствольної коробки, підтискає вгору одночасно фіксуючі пальці і притиск патрона. 

Переміщення патрона здійснюється таким чином, що його передня частина, проходячи під козирком переднього упору (передня частина ланки стрічки при цьому пересувається зверху козирку), трохи опускається вниз, а задня частина патрона проходить над передньою частиною досилача. 

При доході патрона до центру ствольної коробки (передня частина досилача в цей час розміщується позаду патрона) фіксуючи пальці обертаються вниз, заскакуючи за перший патрон, фіксатори патрона заскакують за другий патрон, а притиск патрона прижимає перший патрон вниз до напрямних на ствольній коробці.

Після другого відведення повзуна частини автомата приймуть таке ж саме положення, як і після першого відведення повзуна назад, але тепер на лінії досилання знаходиться бойовий патрон (тобто автомат заряджений).


Взаємодія частин та механізмів автомата при стрільбі

Для здійснення стрільби необхідно натиснути на педаль спуску установки. При цьому спусковий важіль спускового механізму установки впливає знизу вгору на ролик планки спуску механізму блокування автомата (див. Малюнок 25). Передній кінець планки спуску підіймаються вгору, обертаючи важіль спуску і звільняючи тим самим повзун від шептала – відбувається постріл (див. Малюнок 34).

Безперервна автоматична стрільба буде тривати до тих пір, поки шептало знаходиться в опущеному положенні.

Для припинення стрільби необхідно опустити педаль спуску установки.

При натисканні на важіль спуску і подальшому русі повзуна вперед частини автомата взаємодіють так само, як і при першому спуску повзуна з шепотала, з тією лише різницею, що попереду досилача в приймальнику перебуває патрон (див. Малюнок 36).

При русі повзуна під дією зворотної пружини вперед передній торець досилача виштовхує патрон з ланки стрічки в патронник.

Важіль досилача набігає заднім пером на кулачок заднього упору і, обкочуючись навколо нього, прискорює рух досилача вперед.

Дославши патрон в патронник, досилач продовжує переміщуватися вперед і зіскользуючи по фланцю гільзи вгору, віджимаючи вгору притискну лапку на кришці коробки. Зуб досилача, дійшовши до проточки гільзи, опускається в неї, а притискна лапка під дією пружини опускається вниз, утримуючи досилач в щеплені з гільзою при її екстракції. Частини займуть положення, що показане на рисунку 37 ( але в патроннику буде знаходитися патрон).

При замиканні каналу стволу (при підйомі затвора) зачепи на затворі заходять в проточку гільзи і фіксує її положення.

Після зриву ударника з бойового взводу бойок від удару по ньому лодижки переміщується вперед, виходить передньою частиною з отвору в дзеркалі затвора і вдаряє по капсулі патрону. Від удару капсуль запалюється і запалює пороховий заряд патрона.

Після проходження снарядом газовідвідного отвору в стінці ствола частина порохових газів через цей отвір потрапляє в газову камеру.

Порохові гази, що надійшли в газову камеру, тиснуть на поршень і відкидають його разом з повзуном назад. У початковий час руху назад повзун обертає противідскок, звільняючись від його захоплення.

При відкочуванні назад повзун переміщує з’єднану з ним трубку і стискає зворотню пружину.

Екстракція гільзи проводиться зубом досилача, який шарнірно пов’язаний через важіль досилача з повзуном.

Відмикання каналу ствола (опускання затвора) починається після проходження повзуном шляху 7-10 мм (вільний хід повзуна).

Взаємодія ромбів важеля досилача зі скосами відбивача забезпечує екстракцію гільзи тільки після повного відмикання затвором каналу ствола.

При русі повзуна назад ромбики важеля досилача ковзають по похилим скосам відбивача і важіль, нахиляючись вперед, опускає задню частину досилача.

До моменту повного відмикання каналу ствола ромбики важеля досилача лягають на повзун, а лапки досилача виходять з вертикальних вирізів ствольної коробки. Це дає можливість досилачу переміщуватися назад разом з повзуном.

Затвор в кінці відмикання верхніми ріжками, взаємодіючими з переднім торцем лапок досилача, зрушує досилачь назад. Цим забезпечується початкове зміщення зубом досилача гільзи з патронника після пострілу.

При подальшому русі повзуна назад досилач своїм зубом зміщує гільзу назад (див. мал. 3.6), вводить в радісні зрізи відбивача і направляє її вниз з автомату. Швидкість досилача на початку екстракції така ж, як і у повзуна, а потім за рахунок обкатування переднього пера важеля досилача по кулачку заднього упору стає більше, ніж уповзуна.

Втративши зчеплення з зубом досилача, гільза виймається з автомата по інерції.

До моменту підходу повзуна до буферу передній торець досилача заходить за фланець чергового патрона (див. Малюнок 36).

Відкат повзуна закінчується ударом в буфер. При цьому відбувається підтисканнятарілчастих пружин буфера (див. Малюнок 28).

На початку накату повзуна вперед він рухається під дією тарілчастих пружин і зворотної пружини. Після приходу буфера в переднє положення подальший рух повзуна вперед відбувається за інерцією і під дією тільки зворотної пружини.

У разі якщо спусковий важіль залишається натиснутим, вищеописаний цикл роботи механізмів і частин повторюється знову.


Припинення стрільби

Стрільба може припинитися, коли буде відпущена педаль спуску установки або після того, як в стрічці закінчаться патрони.

Якщо в процесі стрільби педаль спуску установки, а з нею і важіль спуску автомата будуть відпущені, то повзун, переміщаючись вперед від буфера, зупиниться на шепталі.

Якщо педаль спуску буде відпущена в момент, коли бойовий взвод повзуна знаходиться попереду шепотіла, то при русі назад повзун через вимикач втопить шепотіло так само, як і при першому зведенні рухомих частин, а потім під час руху від буфера вперед зупиниться на шептале який піднявся.

Рухомі частини займуть таке ж положення, яке вони займали після заряджання.

При повторному натисканні на спускову педаль установки стрільба відновиться. Якщо стрільба проводиться до вичерпання набоїв в стрічці і повзун після вистрілу переміщується назад, подаючий механізм автомату зміщує останній в стрічці патрон з довгого плеча передавального важеля механізму блокування на лінію досилача (до центру ствольної коробки). 

Спусковий важіль установки, взаємодіючи через ролик з планкою спуску, тисне на штовхач вгору (див. Малюнок 27).

Верхній кінець штовхача повертає передавальний важіль (довге плече важеля піднімається вгору), жорсткий кінематичний зв’язок деталей механізму блокування порушується. Спускова планка механізму блокування перестане впливати на важіль спуску спускового механізму автомата.

Рухомі частини зупиняться на шепталі, перед досилачем розміститься останній в стрічці патрон. При повторному натисканні на педаль спуску стрільби не буде, так як, до тих пір, поки в приймачі за фіксаторами патрона не будуть розміщені патрон, відсутній жорсткий кінематичний зв’язок деталей механізму блокування.

Для повторного заряджання автомата достатньо ввести перший патрон наступної стрічки за фіксатори патрона в приймальнику — автомат заряджений. При цьому патрон втопить довге плече передавального важеля механізму блокування і відновиться жорсткий кінематичний зв’язок деталей механізму блокування.

Для продовження стрільби після введення першого патрона другої стрічки в приймальне вікно автомата достатньо натиснути на педаль спуску установки.

Повторне заряджання автомата без будь-яких додаткових взведень рухомих частин забезпечує більш високу бойову скорострільність установки.

Підзавдання       0091Г.12А-156.00305   Вивчити порядок користування трубкою холодного пристрілювання.


Вивірювання автоматів і прицілу

Вивірка автоматів і прицілу проводиться по індивідуально контрольно — вивірочної мішені (КВМ) (Малюнок 39), яка додається до формуляру установки ЗУ-23.

Мета вивірки узгодження напрямку стволів автоматів з оптичними осями коліматора і оптичного наземного прицілу по горизонталі і вертикалі.

Вивірку автоматів і прицілу проводити в наступному порядку:

Перевести установку в бойове положення і правильно відгоризонтувати. Встановити нульові значення на всіх шкалах прицілу. Вивести її в горизонт, працюючи підйомним механізмом установки.


Встановити на відстані 50 м від дульних зрізів стволів вертикальний щит з нанесеними на ньому перехрестями контрольно-вивірювальної мішені (КВМ) за розмірами, зазначеним у формулярі.

Вставити в канал ствола лівого автомата з дульної частини трубку холодної пристрілки (див. Малюнок 40) і, працюючи поворотним і підйомним механізмами, навести перехрестя її в перехрестя контрольно-вивірочної мішені (КВМ), позначене, буквами А-Л (автомат лівий).

 

Закріпити обертову і хитку частини гальмами, стежачи при цьому, щоб не збилася наводка трубки холодної пристрілки з перехрестя А-Л.

 

Повернути ТХП в стволі на 90°. Якщо відхилення більше малої поділки — замінити ТХП на справну.( див. Малюнок 41).

 

Вийняти трубку холодної пристрілки з каналу ствола лівого автомата і вставити її в канал ствола правого автомата, з дульної частини. При цьому ствол правого автомата повинен бути спрямований в перехрестя контрольно-вивірочної мішені (КВМ), позначене літерами А-П (автомат правий).

Якщо ствол правого автомата відхиляється від перехрестя більш ніж на один малий розподіл трубки холодної пристрілки, то навести його за допомогою вивірювального механізму на задньому кріпленні правого автомата.

Вивірку (наводку) автомата проводити спочатку ПО ГОРИЗОНТАЛІ, потім по вертикалі.

Вивірку автомата ПО ГОРИЗОНТАЛІ проводити в наступному порядку:

відкрити намітку 30 (див. Малюнок 42) хомута опори ствола;

послабити кріплення підстави опори ствола на кронштейні люльки, відкрутивши на два-три оберти гайки 16 (Малюнок 43) болтів підстави опори ствола;

віджати фіксуючу шайбу 52 (Малюнок 44) заднього кріплення з пружиною вниз;

згвинтити ключем на один оборот контргайку 51;

вкрутити або викрутити гвинт 59 з прапорцем (в залежності від необхідного напрямку переміщення автомата) до суміщення вертикальної лінії перехрестя трубки холодної пристрілки, вставленої в канал ствола з дульної частини, з вертикальною лінією відповідного перехрестя (А-П) контрольно-вивірочної мішені (КВМ).


Вивірку автомата ПО ВЕРТИКАЛІ проводити в наступному порядку:

поєднати горизонтальну лінію перехрестя трубки холодної пристрілки (ТХП), вставленої в канал ствола з дульної частини, з горизонтальною лінією відповідного перехрестя контрольно-вивірочної мішені (КВМ), повертаючи ключем гвинт 54 в необхідному напрямку;

завернути ключем контргайку 51;

вийняти трубку холодної пристрілки (ТХП);

закрити намітку 30 хомута опори ствола (див. Малюнок 42);

встановити рівномірний зазор по всьому колу між хомутом і стволом;

закріпити опору 1 (див. Малюнок 42) ствола на кронштейні люльки.


Примітка. Якщо вивірка автомата проводиться тільки по горизонталі або тільки по вертикалі, то після закінчення вивірки по одному напрямку проробити те ж, що і після закінчення вивірки за двома напрямками,

Встановити на шкалі дальності 20 (Малюнок45) прицілу розподіл 5.

Перевірити наводку перехрестя коліматора по перехрестю контрольно-вивірочної мішені (КВМ), позначеному літерою К. Якщо коліматор встановлений на прицілі правильно, то перехрестя його збігається з перехрестям К або відхиляється від нього не більше ніж на 2 тис. в будь-яку сторону.

Якщо перехрестя коліматора відхиляється від перехрестя К на контрольно-вивірочній мішені (КВМ) більш ніж на 2 тис., необхідно повернути коліматор.

Для повороту коліматора в ГОРИЗОНТАЛЬНІЙ ПЛОЩИНІ треба:

відвернути на кілька оборотів болт малої ланки 3 і гайку ексцентрика 106 (Малюнок 44) кронштейна легким постукуванням великої викрутки, взятої з ЗІП; звільнити останній в конусних отворах до отримання його вільного обертання від руки;

повернути ключем ексцентрик кронштейна до суміщення вертикальної лінії перехрестя коліматору з вертикальною лінією перехрестя К на контрольно-вивірочній мішені (КВМ);

загвинтити болт кронштейна і гайку ексцентрика кронштейна.


Для повороту коліматора у ВЕРТИКАЛЬНІЙ ПЛОЩИНІ потрібно:

відгвинтити на кілька оборотів баранчик стійки і гайку ексцентрика стійки;

повернути ключем ексцентрик стійки до суміщення горизонтальній лінії перехрестя коліматору з горизонтальною лінією перехрестя К на контрольно-вивірочній мішені (КВМ);

загвинтити баранчик стійки і гайку ексцентрика стійки;

звільнити вертикальний ексцентрик аналогічно звільнення горизонтального.

Поставити маховички на наземному прицілі за шкалою дальності на розподіл 5, а за шкалою бічних виправлень на розподіл 0.


Перевірити наводку наземного прицілу по контрольно-вивірочній мішені (КВМ). Якщо вершина вертикальної нитки перехрестя наземного прицілу збігається з відповідною відміткою (НП) контрольно-вивірочної мішені  (КВМ) або відхиляється від неї не більше ніж на 1 тис. (5 см) в будь-яку сторону, то наземний приціл вивірений правильно.

Що стосується розбіжності вершини вертикальної нитки, прицілу з відміткою (НП) контрольно-вивірочної мішені  (КВМ) необхідно:

обертанням маховиків прицілу поєднати вершину вертикальної нитки з відміткою контрольно-вивірочної мішені (КВМ);

обережно послабити гвинти кріплення кілець шкал прицілу і повернути кільця (не збиваючи положення вершини вертикальної нитки) до суміщення з індексом 5 за шкалою дальності і ділення 0 за шкалою бічних виправлень;

обережно закріпити гвинтами кільця і перевірити, чи не збилася вершина вертикальної нитки.


Підзавдання     0091Г.12А-156.00306   Вивчити несправності, які виникають під час стрільби та порядок їх усунення

Основні види несправностей та затримок під час стрільби та способи їх усунення вказані в таблиці 1.

Таблиця 1

 

НЕСПРАВНОСТІ ЯКІ ВИНИКАЮТЬ ПІД ЧАС СТРІЛЬБИ

ТА СПОСОБИ ЇХ УСУНЕННЯ.

НАЗВА

ОЗНАКИ

ПРИЧИНИ ВИНИКНЕННЯ

СПОСОБИ УСУНЕННЯ

Осічка

Рухомі частини знаходяться в передньому положенні, пострілу не сталося

Несправність капсуля; відсутність затравочних отворів. Осідання/поломка бойової пружини в затворі. Поломка бойка. Осідання або поломка пружини автошептала.

Надати    кут підйому менше 70°,

перезарядити автомат, переконатися, що патрон випав з гільзовідводу ( якщо не випав — витягнути його руками) і продовжувати стрільбу. У випадку якщо затримка повториться, розрядити автомат, провести неповне розбирання його, огляд і усунути несправність

Пропуск подачі (неподан-ня чергового патрона) на центр приймального вікна

Постріл не стався, рухомі частини в крайньому передньому положенні. Патрона в патроннику немає

Розтягування ланки, поломка ланки або велика забрудненість автомата

Надати кут підйому менше 70°, поставити рухомі частини на шептало. У разі неможливості відведення рухомих частин відвести їх декілька назад пристосуванням для утримання рухомих частин, розрядити автомат, оглянути патронну стрічку і видалити дефектні ланки або зробити чистку автомата

Відсутня постановка рухомих частин на шептало

При взведенні автомату рухомі частини не фіксуються в взведеному стані

Поломка або попадання в спусковий механізм бруду, піску, залишків горіння пороху.

Часткова розборка автомата, чищення та усунення поломки спускового механізму.

Перекос патрона при заряджан-ні

Неповний захід патрона за фіксатори патрона кришки коробки

Повільне і неенергійне просування коробки по лотку коробкотримача або неенергійний поворот руків’я коробкотримача. Несправність патронної коробки

Утримуючи за ручку троса механізму перезарядження, відкрити кришку коробки автомата, поставити патрон за подаючі пальці подаючого механізму і закрити кришку. Замінити патронну коробку

Недохід рухомих частин в крайнє переднє положен-ня

Патрон повністю в патронник не досланий. Рухомі частини в проміжному положенні і утримуються від просування вперед тому, що лобик досилача упирається у фланець гільзи не повністю досланого в патронник патрона

Попадання в патронник сторонніх предметів : ганчірря, піску і т. д. чи використання патронів з деформованими гильзами або снарядами

За допомогою механізму перезарядження відвести рухомі частини в крайнє заднє положення і поставити їх шептало. Відкрити кришку коробки і витягнути патрон з патронника. У тому випадку, якщо за допомогою механізму перезарядження відвести частини в крайнє заднє положення не вдасться, що можливо при значному заклинюванні                                              патрона                                            в

патроннику і перескоку зуба досилача за закраїну гільзи — необхідно відвести і зафіксувати рухомі частини в задньому положенні за допомогою пристосування для утримання рухомих частин(п..5.1), відкрити кришку коробки, витягнути патрон з приймача і потім зняти пристосування

Перекос патрона при заряджан-ні

Не енергійне перезаряджання автомату з затримкою

(при інтенсівній стрільбі)

Нагрів та забруднення газової комори

Негайний спосіб: шляхом повороту газового регулятора з більшим каналом збільшити кількість порохових газів в газовій коморі.

При наявності часу — чистка автомату та стволів.


#Підготовка населення до ТрО #тероборона #ТериторіальнаОборона #НаціональнийСпротив #ЗСУ #ТрОЗСУя

ПРИЄДНАТИСЯ

Скориставшись даними, наведеними на цій сторінці, кожен з вас зможе з легкістю знайти контакти Сил територіальної оборони Збройних сил України у своєму регіоні. Відповідні дані відкриються при натисканні на конкретну область на карті. Так ви  зможете дізнатися адресу, контактні телефони та електронну пошту ТрО свого міста.

Дані наведені для кожного міста області. Зверніть увагу: у зв’язку з нестабільною ситуацією в Україні, деякі дані можуть бути неактуальними. Для уточнення інформації рекомендуємо зв’язатися з представниками ТрО своєї області (району) за телефоном або звернутись на гарячу лінію Сил територіальної оборони Збройних Сил України.

Знайти своє ТрО →
icons

Гаряча лінія ТрО 0 800 507 028

ТрО G7 +38 (099) 612-80-82


Warning: Undefined array key "src" in /home/spr7/sprotyvg7.com.ua/www/wp-content/plugins/elementor/core/page-assets/loader.php on line 89

Warning: Undefined array key "dependencies" in /home/spr7/sprotyvg7.com.ua/www/wp-content/plugins/elementor/core/page-assets/loader.php on line 89

Warning: Undefined array key "version" in /home/spr7/sprotyvg7.com.ua/www/wp-content/plugins/elementor/core/page-assets/loader.php on line 89

Warning: Undefined array key "src" in /home/spr7/sprotyvg7.com.ua/www/wp-content/plugins/elementor/core/page-assets/loader.php on line 89

Warning: Undefined array key "dependencies" in /home/spr7/sprotyvg7.com.ua/www/wp-content/plugins/elementor/core/page-assets/loader.php on line 89

Warning: Undefined array key "version" in /home/spr7/sprotyvg7.com.ua/www/wp-content/plugins/elementor/core/page-assets/loader.php on line 89

Warning: Undefined array key "src" in /home/spr7/sprotyvg7.com.ua/www/wp-content/plugins/elementor/core/page-assets/loader.php on line 87

Warning: Undefined array key "dependencies" in /home/spr7/sprotyvg7.com.ua/www/wp-content/plugins/elementor/core/page-assets/loader.php on line 87

Warning: Undefined array key "version" in /home/spr7/sprotyvg7.com.ua/www/wp-content/plugins/elementor/core/page-assets/loader.php on line 87