Постріл мінометний калібру 60 міліметрів

ПОСТРІЛ МІНОМЕТНИЙ КАЛІБРУ 60 МІЛІМЕТРІВ

Призначення пострілу мінометного калібру 60 міліметрів

Постріл мінометний калібру 60 міліметрів – це боєприпас, призначений для стрільби з мінометів калібру 60 міліметрів.
Постріл мінометний калібру 60 міліметрів призначений для ураження живої сили і техніки, розташованих відкрито або в спорудах польового типу, придушення вогневих точок та руйнування дротових загороджень на диста-нції до 2500 м.
До складу одного комплекту постачання пострілів мінометних калібру 60-мм входять:

— Постріл мінометний – 12 шт.
— Тубус – 12 шт.
— Дерев’яний ящик – 1шт.

Тактико-технічні характеристики пострілу мінометного калібру 60 міліметрів:

 

Назва параметра та розміру

Норма

1. Максимальна дальність польоту, м, не менше

2500

2. Мінімальна дальність польоту, м, не більше

110

3. Початкова швидкість, м/с

    — мінімальна

    — максимальна

 

81

215

4. Режим стрільби, не більше

20 постр. за 1 хв.

35 постр. за 2 хв.

45 постр. за 3 хв.

60 постр. за 5 хв.

75 постр. за 10 хв.

90 постр. за 20 хв.

100 постр. за 30 хв.

144 постр. за 60 хв

5. Відстань безпечного взводу підривача від зрізу каналу ствола, м:

— мінімальна

— максимальна

 

 

2

40

6. Довжина пострілу, мм

287

7. Маса пострілу, г

1380

8. Маса ящику з пострілами, кг

30

 

 

Побудова пострілу мінометного калібру 60 міліметрів


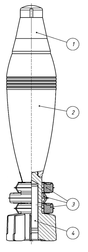
Постріл мінометний калібру 60 міліметрів

Постріл мінометний калібру 60 міліметрів (рисунок 1) складається із підривача (1), міни (2), додаткового заряду (3) та основного заряду (4) .
Під час ведення стрільби пострілом мінометним калібру 60 міліметрів, від наколювання капсуля-запальника основного заряду ударником міномета, спрацьовує основний метальний заряд. Під дією тиску порохових газів від-бувається руйнування гільзи основного заряду через отвори трубки стабілі-затора і відбувається займання додаткового заряду.
Під дією тиску порохових газів, що утворюються під час горіння осно-вного і додаткового зарядів, міна вилітає із міномета з відповідною для да-ного заряду швидкістю.

Осколкова 60-мм міна

Осколкова 60-мм міна (рисунок 2) складається із корпусу міни (1), ста-білізатору (2) та розривного заряду (3). Корпус міни виготовлений з чавуну. На корпусі міни мається центруючий пасок, який призначений для обтюрації порохових газів під час руху міни в каналі ствола, із спеціальними канавка-ми, які забезпечують обтюрацію. В головній частині корпусу мається різьбо-вий отвір для вгвинчування підривача. Стабілізатор – алюмінієвий, трубчас-тої форми, має вісім пір’їв та оснащений отворами для передачі вогню. У донній частині стабілізатора мається спеціальний отвір для розміщення ос-новного заряду.


Дія осколкової міни відбувається від спрацювання підривача при зу-стрічі з перешкодою. Від підривача детонація передається вибуховій речо-вині міни. Детонація вибухової речовини викликає в свою чергу руйнування корпусу на осколки і надання їм кінетичної енергії.

Рисунок 1
Постріл мінометний калібру 60 міліметрів:
1 – підривач; 2 – міна; 3 – додатковий заряд;
4 – основний заряд.

Рисунок 2

Міна калібру 60-мм
1 – корпус міни; 2 – стабілізатор;
3 – розривний заряд.

Підривач натискної дії типу UT M68P1

 

Постріл мінометний калібру 60 міліметрів комплектується підривачем натискної дії типу UT M68P1 (рисунок 3).
Підривач типу UT M68P1є безпечним під час зберігання та викорис-тання.
Підривач забезпечує безпеку і надійність боєприпасів у будь-яких по-годних умовах при дотриманні Технічних умов.

Рисунок 3 Підривач типу UT M68P1

Метальний заряд

Метальний заряд – це навіска пороху, яка використовується для вики-дання міни із каналу ствола міномета із початково заданою швидкістю.
Метальний заряд складається із основного та додаткового зарядів.

Основний заряд

Основний заряд призначений для надання міні необхідної початкової швидкості та є засобом займання пакетів додаткового заряду.
Основний заряд (рисунок 4) являє собою гільзу (1) з металевим цоко-лем, у дно якого встановлений капсуль-запальник (2). На дні гільзи
розміщений додатковий запальник (3) з димного пороху. В гільзу (1) засипа-ний пластинчастий баліститний порох (4). Вільний об’єм гільзи вибраний пижами (5), поверх яких встановлена картонна кришка (6).

Рисунок 4 Основний заряд:
1 – капсуль-запальник; 2 – додатковий запальник;
3 – гільза; 4 – пластинчастий порох;
5 – пижі; 6 – кришка.

Додатковий заряд

Додатковий (перемінний) заряд призначений для збільшення дальності стрільби. Додатковий (перемінний) заряд (рисунок 5) складається з виготов-лених із нітроцелюлози рівноважних пакетів кільцевої форми, наповнених баліститним пластинчастим порохом. Застосовують від одного до трьох па-кетів. Пакети додаткового заряду встановлюються на посадочне місце стабі-лізатора.

Рисунок 5 Додатковий заряд:
1 – нарощуваний пакет; 2 – баліститний порох.

Маркування

Маркування пострілу мінометного калібру 60 міліметрів, його склада-льних частин, тари (упаковки) необхідне для правильного та безпечного бо-йового застосування цього боєприпасу, зберігання, транспортування та по-водження з ним, а також для чіткого взаєморозуміння при службовому лис-туванні військових частин з органами артилерійського постачання.
Місця, засоби нанесення маркування на корпусі міни, мінометному пос-трілі та упаковці, її зміст мають відповідати вимогам ГОСТ 26828, ГОСТ 14192, ГОСТ 19433, ДСТУ 4500-5, технічним умовам А631J.Р01.307241.000 ТУ, а при постачанні на експорт — також вимогам контракту (договору).
Маркування наносять засобом фарбуванням по трафарету. Матеріали і шрифти для нанесення маркування – по ОСТ В 3-6568.
Маркування має бути чітким, без перекосів знаків та стійким протягом терміну зберігання пострілу мінометного в умовах, встановлених технічною документацією на мінометні постріли, а так само при їх транспортуванні.
Маркувальні написи виконують на державній мові, при постачанні на експорт — на мові, обумовленій в контракті (договорі).

Маркування пострілу мінометного калібру 60 міліметрів

Маркування пострілу мінометного калібру 60 міліметрів здійснюється на тарі (тубус, ящик), в яку він вкладається (рисунок 6 та 7).
На корпус тубусу наносять маркування (рисунок 6), що характеризує продукцію:

1 — найменування (індекс) пострілу; 2 — марка, підприємство-виробник, партія, рік виготовлення ОЗ; марка пороху ОЗ; 3 — підприємство-виробник, партія, рік виготовлення ДЗ; партія, рік виготовлення, підприємство-виробник пороху ДЗ; 4 — індекс, підприємство, що споряджало міну, партія, рік виготовлення та шифр ВР; 5 — інформація щодо остаточного споряджен-ня: марка, завод-виробник, партія, рік виготовлення підривача; 6 — знак маси міни; 7 — партія, рік виготовлення, підприємство-виробник пострілу.

Рисунок 6 Тубус для осколкового
пострілу мінометного калібру 60 міліметрів

Маркування на транспортній тарі (ящику).

Маркування на транспортній тарі (ящику) має містити таку інформацію (рис. 7):

1- найменування (індекс, вид дії), номер партії, рік виготовлення, шифр підприємства-виробника пострілу, ваговий знак, кількість штук;
2 — найменування (індекс) міни, шифр підприємства, що споряджало мі-ну, номер партії та рік спорядження ВР, шифр ВР
3 — марка, завод-виробник, номер партії, рік виготовлення підривача;
4 — індекс системи ОВТ, маса БРУТТО;
5 – кількість ОЗ шт., кількість ДЗ шт.;
6 — знак небезпеки та розряд вантажу;
7 – номер небезпеки ООН;
8 — попереджувальні пояснювальні знаки

Рисунок 7 Дерев’яний ящик для осколкових
пострілів мінометних калібру 60 міліметрів

Маркування міни

На кожну міну має бути нанесене маркування (рисунок 8), що містить наступні елементи:

1 – індекс міни;
2 — ваговий знак;
3- вибухова речовина, якою споряджена міна;
4 — № партії;
5 — рік виготовлення (дві останні цифри);
6 — підприємство-виробник, що споряджало міну;
7- калібр міни.

Рисунок 8 Осколкова міна калібру 60 міліметрів

Маркування основного заряду.

Маркування на основному заряді має містити таку інформацію (рис. 9):
1- марка основного заряду;
2- шифр заводу-виробника, номер партії, рік виготовлення основного заря-ду;
3- марка пороху основного заряду.

Рисунок 9 Основний заряд для осколкових
пострілів мінометних калібру 60 міліметрів

Примітка.
Допускається замість вказаного маркування наносити аналогічне за змістом марку-вання на донці гільзи основного заряду, при цьому марка пороху ОЗ не вказується.

Маркування додаткового заряду.

Інформація про додатковий заряд вказується на ярлику, який вклада-ється всередину контейнера та має містити таку інформацію:

 

1- марка (індекс) додаткового заряду;
2- шифр заводу-виробника, номер партії, рік виготовлення додаткового за-ряду;
3- марка, партія, рік виготовлення пороху додаткового заряду;
4- підприємство-виробник пороху додаткового заряду.

 

3.5 Маркування підривача.
Маркування на підривачі має містити таку інформацію (рис. 10):
1- марка (індекс) підривача;
2- шифр заводу-виробника, номер партії, рік виготовлення партії під-ривача.

Рисунок 10 Підривач для осколкових
пострілів мінометних калібру 60 міліметрів

Заходи безпеки та обережності при поводженні з пострілом мінометним калібру 60 міліметрів

 

При використанні пострілу мінометного калібру 60 міліметрів потрібно дотримуватися наступних заходів безпеки: не допускати падіння міни, метальних зарядів, підривача і зібраного пострілу; оберігати міну, метальні заряди, підривач і зібраний постріл від вологи; проводити транспортування тільки у штатній упаковці; безпечне застосування пострілу здійснюється при температурі навколишнього повітря від -50 до +50°С.

Категорично забороняється: допускати до роботи осіб, що не ознайомилися з цією Настановою щодо експлуатування; використовувати міну, метальні заряди, підривач, зібраний постріл в якості учбових експонатів; проводити розбирання або виправлення пострілу мінометного; допускати до стрільби міни, підривачі, що мають механічні пошкодження, а також пакети додаткового (перемінного) порохового заряду, що мають пошкодження, які приводять до висипання пороху, або, що знаходяться в пошкодженій упаковці; викладати постріл мінометний прямо на землю, особливо на сиру траву або сніг; використовувати для пострілу відволожені метальні заряди; збільшувати заряд більше вказаного в таблиці стрільби.

У випадку осічки при стрільбі керуватися вказівками по розряджанню міномета. Основний заряд вилучається із стабілізатора міни за допомогою штатного екстрактора, при цьому не допускаються удари по основному заряду та механічний вплив на капсуль-запальник основного заряду. Всі роботи з пострілами провидити тільки при наявності на підривачі запобіжної скоби.

Міни, підривачі, метальні заряди, що мають механічні пошкодження, а також метальні заряди, не використані при стрільбі, підлягають знищенню у встановленому порядку служби РАО.

 

 

Підготовка пострілу мінометного калібру 60 міліметрів до стрільби.

 

Перед стрільбою необхідно виконати наступні основні правила: для забезпечення точності та купчатості підібрати для стрільби міни з однаковими масовими знаками та з основними і додатковими зарядами однієї партії; оглянути корпуси мін, підривників та зарядів; витерти ганчіркою консерваційне змащення з центруючих пасків міни; відібрати необхідну кількість додаткових зарядів, зняти запобіжну скобу на підривачі.

Підбір міни з однаковими масовими знаками та з основними і додатковими зарядами однієї партії.

Для стрільби серії пострілів слід підбирати міни з однаковими масовими знаками.

При однаковому заряді важка міна летить ближче, ніж легка. Тому стрільба мінами з різними масовими знаками приводить до великого розсіювання та до великої витрати часу і мін на пристрілювання та враження цілі.

Не дозволяється вести пристрілку мінами з одними знаками маси, а переходити на стрільбу мінами з іншими знаками маси.

На вогневій позиції міни необхідно відсортувати за масою (за нанесеними на корпусі міни знаками маси -, Н, +)

Балістичні характеристики різних партій метальних (основних і додаткових) зарядів можуть в незначній мірі відрізнятись, тому в одній серії пострілів бажано стріляти з метальними зарядами однієї партії.

 

 

Огляд корпусу міни, підривача і зарядів.

 

При огляді корпусу міни необхідно перевірити чи не зігнуте або не зламане оперення стабілізатора, чи щільно закручений стабілізатор в корпус міни, чи є тріщини на корпусі і т.і. Використовувати для стрільби міни з дефектами категорично забороняється.

При огляді стабілізатора звертати увагу на повноту досилання основного заряду в трубку стабілізатора. Недосланий основний заряд може призводити до осічки.

Для уникнення нещасних випадків стріляти міною, підібраною на полі бою – забороняється.

При огляді підривача необхідно перевіряти щільність закручення підривача в корпус міни. Недбалість, в результаті якої підривач виявився не щільно закрученим в корпус міни, може бути причиною неповного розриву міни у цілі. Якщо на корпусі підривача відсутнє тавро заводу, номера партії і року виготовлення, підривач до стрільби не допускається. Підривач не повинен мати механічних ушкоджень.

При огляді зарядів необхідно пам’ятати, що порох, має здатність вбирати вологу, а відволожений порох важко займається і згорає. Сповільнене згоряння відволоженого пороху завжди призводить до великих недольотів міни до цілі. Тому не можна допускати тривале перебування додаткового (перемінного) заряду під дощем, снігом, у воді, так як упаковка не витримає таких умов зберігання, порох відволожується.

Розкривати упаковку і готувати міну до стрільби необхідно безпосередньо перед стрільбою і в кількості, необхідній для стрільби.

Забороняється стріляти зарядами з відволоженими додатковими (перемінними) зарядами, з відволоженою гільзою і позеленілим металевим цоколем основного заряду.

Необхідно звернути увагу на маркування зарядів, не допускаючи одночасного застосування зарядів різних партій.

 

 

Зняття консерваційного змащення з центруючих пасків міни.

 

Для запобігання надмірного забруднення ствола, недопущення застрявання міни під час опускання по каналу ствола необхідно центруючі паски міни перед стрільбою витерти ганчіркою (для полегшення цього можливо використання ганчірки змоченої в бензині (гасі) та віджатої від надмірних залишків розчинника).

 

 

Комплектування мін зарядами

 

При комплектуванні мін зарядами необхідно обережно поводитися з мінами і зарядами, точно виконувати команди, що вказують номер заряду. В залежності від номеру заряду, необхідного для стрільби, зняти зі стабілізатора міни визначену кількість рівновісних пакетів додаткового заряду.

При навішуванні додаткових пакетів на трубку стабілізатора слідкувати (особливо на морозі) за тим, щоб не пошкодити контейнери додаткового заряду. Кріплення додаткового заряду має бути надійним.

 

Підготовка підривача

 

Підготовка підривача складається у знятті запобіжної скоби з корпусу підривача. Необхідно пам’ятати, що у випадку, якщо не буде знято запобіжну скобу з підривача, міна після вильоту з міномета не виконає своєї фунції (не розірветься). У випадку осічки після вилучення міни із міномету запобіжну скобу необхідно встановити на місце.

 

Транспортування та зберігання пострілу мінометного калібру 60 міліметрів

 

Транспортування

 

Постріл мінометний калібру 60 міліметрів відносяться до небезпечних вантажів класу 1 – «вибухові речовини і вироби». Постріл мінометний калібру 60 міліметрів транспортують автомобільним, залізничним, морським, річковим і авіаційним транспортом в критих транспортних засобах, що виключають його механічні ушкодження, а також упаковки, відповідно до правил перевезень небезпечних вантажів, що діють на відповідному виді транспорту. Залізницею постріл транспортуються по-вагонними відправками.

Завантаження на автомобільний та залізничний транспорт здійснюється таким чином, щоб вісь боєприпасів розташовувалась перпендикулярно вісі автомобіля (вагону). Постріл мінометний калібру 60 міліметрів має перевозитися у справній штатній упаковці, до складу якої входить спеціальна транспортна тара (ящик) та спеціальна індивідуальна упаковка (тубус). Під час транспортування та зберігання упаковка з пострілом має бути захищеною від впливу будь-якого виду вологи (атмосферних опадів, підволоженню); слід виключати його падіння, удару та дій інших подібних динамічних навантажень.

За потреби, під час транспортування, мають бути прийняті заходи щодо надійного закріплення транспортної тари від вільного переміщення. У якості кріпильних засобів можуть бути використовувані лямки, що кріпляться до бічних стінок, спеціальні грати і кронштейни, блокуючі пристрої, які перешко-
джають ковзанню і тому подібне. Під час вантажних операцій двигун транспортного засобу має бути вимкнений, за винятком випадків, коли його використання потрібне для приведення в дію насосів та інших механізмів, які використовуються під час вантаження або розвантаження транспортного засобу, або якщо це передбачено відповідною нормативною документацією.

У разі обладнання автомобільної (броньованої) техніки спеціальною укладкою для боєкомплекту, мінометний постріл мінометний калібру 60 міліметрів може перевозитися в укладці без спеціальної транспортної тари.

 

УВАГА. Транспортування та зберігання пострілу мінометного калібру 60 міліметрів в каналі ствола міномета категорично забороняється.

 

 

Зберігання

 

Постріл мінометний калібру 60 міліметрів може зберігатися у сховищах або на майданчиках під навісами.

Умови зберігання пострілу мінометного калібру 60 міліметрів у сховищах.

Сховища можуть бути кам’яними, бетонними, дерев’яними, металевими з теплоізоляцією, обов’язково обладнаними штучною або природною вентиляцією.

У неопаленому сховищі температура має бути в межах: +50°С – -50°С, а відносна вологість – не більше 98%. Сховище може бути обладнане опаленням, у цьому випадку протягом року температура у сховищі має бути в межах: +5°С – + 40°С, а відносна вологість – не більше 80%.

Конструкція сховища має не допускати впливу на постріл мінометний калібру 60 міліметрів в упаковці прямого сонячного випромінювання, запобігати потраплянню опадів, пилу, корозійно-активних компонентів та біологічних факторів, що викликають неприпустимі зміни параметрів пострілу під час термінів зберігання.

У складських приміщеннях не допускається проведення робіт, що не пов’язане з відвантаженням і зберіганням пострілу, а також присутність сторонніх осіб.

 

Умови зберігання мінометного пострілу на майданчиках:

Обладнані навісами майданчики повинні мати тверде покриття з бетону або асфальтобетону і за розмірами відповідати типовим сховищам. Обладнані навісами майданчики мають розміщуватися в суворій відповідності з вимогами, що пред’являються до розміщення сховищ.

При обладнанні відкритих майданчиків з навісами мають бути дотриманими наступні вимоги:

а) майданчик обладнується на ділянці місцевості з незначним загальним ухилом (від 2° до 3°) природного рельєфу;

б) рівень поверхні майданчика повинен бути вище ґрунтових вод не менш ніж на 0,5 м. Ґрунт на майданчику має витримувати тиск не менш 5 кгс/см2;

в) майданчик має бути прямокутним та, за можливістю, орієнтованим короткою стороною в напрямку переважаючих вітрів;

г) навколо майданчика мають бути водовідвідні канави (кювети).

 

 

Заходи безпеки підчас завантажувальних і розвантажувальних робіт

 

При завантажувальних і розвантажувальних роботах суворо дотримуватися встановлених правил безпеки.

Під час виконання вантажних операцій з боєприпасами суворо забороняється палити поблизу та у середині транспортних засобів з боєприпасами. Ящики з боєприпасами мають складатися у транспортні засоби таким чином, щоб вони здіймалися над бортом автомобіля не більш ніж на половину висоти ящика верхнього ряду.

Забороняється:

переносити вручну більше одного пострілу без тари;

переносити боєприпаси на спині або плечі;

переносити боєприпаси в несправній тарі або кришкою тари донизу;

укладати тару з боєприпасами догори дном або на бокові та торцеві стінки;

кантувати, тягти і кидати ящики з боєприпасами;

виконувати вантажно-розвантажувальні роботи, якщо транспортні засоби не загальмовані.

 

 

Утилізація пострілу мінометного калібру 60 міліметрів

 

Вибухонебезпечні відходи знищуються відповідно до вимог НПАОП 29.6-7.06, НПАОП 29.6-7.05 та Правил безпеки під час утилізації звичайних видів боєприпасів N 1131/14398.

Постріли та їх складові частини після закінчення терміну зберігання або після аварії підлягають утилізації за порядком, визначеним чинним законодавством.

#Підготовка населення до ТрО #тероборона #ТериторіальнаОборона #НаціональнийСпротив #ЗСУ #ТрОЗСУя

ПРИЄДНАТИСЯ

Скориставшись даними, наведеними на цій сторінці, кожен з вас зможе з легкістю знайти контакти Сил територіальної оборони Збройних сил України у своєму регіоні. Відповідні дані відкриються при натисканні на конкретну область на карті. Так ви  зможете дізнатися адресу, контактні телефони та електронну пошту ТрО свого міста.

Дані наведені для кожного міста області. Зверніть увагу: у зв’язку з нестабільною ситуацією в Україні, деякі дані можуть бути неактуальними. Для уточнення інформації рекомендуємо зв’язатися з представниками ТрО своєї області (району) за телефоном або звернутись на гарячу лінію Сил територіальної оборони Збройних Сил України.

Знайти своє ТрО →
icons

Гаряча лінія ТрО 0 800 507 028

ТрО G7 +38 (099) 612-80-82


Warning: Undefined array key "src" in /home/spr7/sprotyvg7.com.ua/www/wp-content/plugins/elementor/core/page-assets/loader.php on line 89

Warning: Undefined array key "dependencies" in /home/spr7/sprotyvg7.com.ua/www/wp-content/plugins/elementor/core/page-assets/loader.php on line 89

Warning: Undefined array key "version" in /home/spr7/sprotyvg7.com.ua/www/wp-content/plugins/elementor/core/page-assets/loader.php on line 89

Warning: Undefined array key "src" in /home/spr7/sprotyvg7.com.ua/www/wp-content/plugins/elementor/core/page-assets/loader.php on line 89

Warning: Undefined array key "dependencies" in /home/spr7/sprotyvg7.com.ua/www/wp-content/plugins/elementor/core/page-assets/loader.php on line 89

Warning: Undefined array key "version" in /home/spr7/sprotyvg7.com.ua/www/wp-content/plugins/elementor/core/page-assets/loader.php on line 89

Warning: Undefined array key "src" in /home/spr7/sprotyvg7.com.ua/www/wp-content/plugins/elementor/core/page-assets/loader.php on line 89

Warning: Undefined array key "dependencies" in /home/spr7/sprotyvg7.com.ua/www/wp-content/plugins/elementor/core/page-assets/loader.php on line 89

Warning: Undefined array key "version" in /home/spr7/sprotyvg7.com.ua/www/wp-content/plugins/elementor/core/page-assets/loader.php on line 89

Warning: Undefined array key "src" in /home/spr7/sprotyvg7.com.ua/www/wp-content/plugins/elementor/core/page-assets/loader.php on line 87

Warning: Undefined array key "dependencies" in /home/spr7/sprotyvg7.com.ua/www/wp-content/plugins/elementor/core/page-assets/loader.php on line 87

Warning: Undefined array key "version" in /home/spr7/sprotyvg7.com.ua/www/wp-content/plugins/elementor/core/page-assets/loader.php on line 87